首页>>>技术>>>融合通信

基于IMS的多媒体彩铃业务解决方案

北京邮电大学 陈静 2007/02/08

一、IMS系统特点

  IMS(IP多媒体子系统)最初是3GPP组织制定的3G网络核心技术标准,目前已被ITU-T和ETSI认可,纳入NGN的核心标准框架,并被认为是实现未来FMC(固定/移动网络融合)的重要技术基础。IMS是一个全IP的网络架构,采用SIP协议进行控制,实现移动性管理、多媒体会话信令和载体业务传输,实现端到端的IP业务。此外,IMS还具有普通业务采用归属服务控制,接入独立,业务、控制、承载层完全分离等特点。

  IMS网络选择SIP协议作为呼叫控制协议,选择Diameter协议为运行AAA(认证、授权、计费)功能的协议,在网络安全方面采用IPSec技术和TLS安全传送协议。IMS体系结构包括应用层平面、控制层平面、媒体层平面3个部分。应用层包括了多种类型的应用服务器,这些主持和执行服务的SIP实体,可操作在SIP代理模式、SIPUA模式和SIPB2BUA模式下。应用层为用户提供多媒体业务,它独立于网络的接入层、核心控制层存在,能保证业务开发和提供的独立性。控制层处理会话信令,由不同的功能实体来处理信令流,x-CSCF(呼叫会话控制功能)、HSS(归属用户服务器)、MGCF(媒体网关控制功能)、MRFC(媒体资源功能控制器)等实体协同操作,提供用户的统一认证、呼叫控制、策略管理、漫游和计费等功能。媒体层作为一个媒体宣告服务器,直接在用户之间、用户和IMS媒体功能(如媒体资源控制处理器MRFP)之间传输媒体流。

  IMS系统的这些特点为用户提供了一种有QoS保证的实时多媒体会话机制。业务提供者可以对业务进行合理的收费,运营商可以向用户提供不同业务的整合。利用IMS,移动运营商给移动用户提供多媒体业务;给企业用户提供融合的企业应用,如IPCENTREX业务;固定运营商给宽带用户提供VoIP业务;综合运营商为用户提供固定和移动融合的IMS业务。目前比较热门的业务是Wi-Fi与移动网的业务切换。IMS帮助固定和无线网络运营商创建、部署和交付可以带来更高收入的交互式多媒体服务,这些服务可以为用户提供能无缝跨越多种接入网的应用体验。

二、多媒体彩铃

  彩铃已成为时下的流行娱乐形式,移动运营商高喊着“拼的就是响法”,彩铃已全线进入了人们的手机,以各种各样的形式取悦着人们的耳朵。3G时代的到来,终端能力的增强为满足用户多样化的需求提供了一个强大的舞台,从简单的音效或歌曲发展成为融合图片、文字、视频的多媒体,多媒体彩铃是踩在巨人的肩膀上发展,必将会演绎成一种表现自我、彰显个性的特色文化。

  多媒体彩铃业务是基于IMS的增值业务,属于被叫定制服务。定制多媒体彩铃业务的用户可以为某一位或某一组主叫用户设定不同的媒体,它可以是极具个性的视频、图片、文字和音乐,其中视频无论是娱乐性还是表达能力都更加丰富,应该会成为多媒体彩铃的典型媒体形式。当主叫用户呼叫时,他们不用再忍受传统的“嘟~~嘟~~”声或者单调的歌曲,取而代之的是精彩有趣、有声有色的视频动画。这些视频动画可以是用户自己录制的“真人秀”,也可以是偶像的一段MTV,当然也可以是一段令人捧腹的“Tom&Jerry”动画,所有想得到的视频片段,都可以在主叫用户的手机上播放,让来电用户“见视频而知其义”,不仅取悦了不同的主叫用户,而且用更加有趣、形象的方式传达了自己的状态。

  多媒体彩铃业务具有主叫号码判断能力,能针对不同主叫用户播放不同的视频。当家人、朋友、老板、恋人来电时,对方都可以看到精心设计安排的,对方独享的视频片段。定制多媒体彩铃业务,不仅个人可以彰显个性、传情达意,企业用户也可以宣传产品服务,进行公益广告,提升企业形象。

三、基于IMS的多媒体彩铃业务解决方案

  1.业务使用流程

  多媒体彩铃用户可以为某一位或某一组主叫用户设定不同的视频,当某个主叫用户来电时,系统根据被叫用户的状态和主叫所属的群组播放不同的视频。如果被叫忙或者无法接通,则播放能表达被叫当前状态的默认系统视频;如果被叫空闲,则根据主叫号码所属的群组播放被叫为该群组定制的视频。无论在哪种情况下,主叫都可以在手机上欣赏到精彩的视频媒体。图1是多媒体彩铃业务使用流程。


  2.系统架构

  多媒体彩铃系统包括终端、接入网、IMS核心网、提供多媒体彩铃业务的SIP应用服务器(AS)、存储多媒体资料的媒体服务器(MS)和数据库(DB)。多媒体彩铃系统架构如图2所示。用户可以通过手机、软终端、笔记本电脑、PDA等多种终端接入并注册到IMS核心网络,SIP应用服务器、媒体服务器和数据库协同工作,为用户提供多媒体彩铃业务。


3.业务信令流程

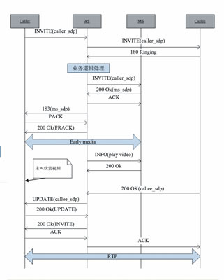
  图3是基于IMS的多媒体彩铃业务的信令流程图,描述了主叫呼叫被叫、被叫空闲、系统向主叫播放视频的正常流程,需要终端支持100rel扩展。AS采用B2BUA模式,收到主叫UAC发送的带主叫SDP的INVITE消息后,AS向被叫UAS发送带主叫SDP的INVITE消息,当收到被叫发送的180Ringing响应后,AS进行业务逻辑处理,判断应该向主叫播放什么视频。接着AS向MS发送带主叫SDP的INVITE消息,MS回复带自身SDP的200Ok响应,AS向主叫回复183 Session Progress 响应,从而在主叫和MS之间建立早期媒体流。AS向MS发送指示播放视频的INFO消息,MS直接向主叫播放定制的精彩视频。当被叫摘机后,AS收到带被叫SDP的200 Ok响应,通过UPDATE请求消息向主叫发送被叫的SDP,此时主被叫媒体协商完成,媒体流重定向到主被叫之间,呼叫双方进行视频通话。


4.市场分析

  移动增值业务领域未来的趋势是向着提供高品质、融合多种媒体、具备个性化和实用性的产品发展。多媒体彩铃是具备了个性化和实用性的业务,在呼叫建立过程中在主叫方移动终端上播放由被叫用户制作或选择的视频录像,以生动直接的形式向主叫方展现被叫用户想要传达的信息。根据用户的个性化需求,用户可以更新自己的视频、图片、文字和音乐,多媒体彩铃将会给用户带来更丰富更精彩的体验,也可以为运营商吸引更多的用户。3G推广后,多媒体彩铃必将成为移动增值业务发展的新动力,同时给SP和CP也带来了丰富的商机。企业通过创作具有个性化需求的视频内容和图片内容,可以丰富用户的体验,更好地满足用户的特性化需求,也会为自身带来更多收益。

通信世界网(www.cww.net.cn)



相关链接:
第六张手机电视/IPTV牌照的几点疑问 2007-02-08
运营商在移动城市建设中应寻找准确定位 2007-02-08
WAPPush技术让广告更鲜活 2007-02-08
手机广告在日本:移动营销先行 2007-02-08
手机报将对传统媒体形成冲击 2007-02-07

分类信息:  移动增值_与_彩铃  移动增值_与_移动  彩铃_与_移动