机场综合业务解决方案
2005/04/26
一.概述
随着计算机信息技术的迅速发展,尤其是计算机信息技术在通信服务领域的大量应用,计算机技术与通信技术日益融合,促进了企业的信息服务不断向着更高的水平发展,各种形式的服务方式和技术手段应运而生,在满足公众越来越高的服务需求的同时,也极大地提升了企业自身的形象,促进企业的发展。
建立系统后,机场综合业务系统可以利用信息技术与计算机应用技术,通过和机场其他业务系统的有机结合,采用先进的服务手段来满足客户不同层次、个性化与多样化的业务需求,不但能为机场服务带来巨大的效益与效率,而且通过向不具备自行建立客服系统能力的航空公司进行“坐席外包”服务,充分利用自有平台、资源,作为一种赢利的商业模式运作,还能够带来丰厚的收益。
二.系统建设计划、目的及原则
机场综合业务系统以言丰航班语音查询系统为基础,以相关的业务系统为依托,涵盖机场问讯系统的原有业务,包括航班信息自动查询、全国酒店预订、电话订票及免费送票、人工服务等业务。并运用言丰科技功能强大的语音识别与合成技术,为客户提供真正人机对话、语音查询功能,实现中文普通话、广东话及英文的多语种查询。
从长远角度讲,机场综合业务系统充分考虑了未来机场作为我国华南地区国际化枢纽机场的重要地位,在系统设计上做了必要的规划,将按计划扩展语音识别支持到世界主要语种的识别,并充分考虑到与其他业务系统的(货运、行李、旅客离港控制等系统)全面集成,用户通过拨打机场综合业务系统特服号码,可以在全天24小时获得航空业务的一系列服务,包括通常旅客、货运、托运、航务、定座及离港信息等,全面实现综合业务的查询、咨询、受理等各项功能。
本系统设计方案是全方位、可扩展的、可延续的全面解决建设方案,既有综合业务系统的通用性,又体了现当前具体业务的特殊性,且系统具有很强的扩展性。
机场综合业务系统不仅将作为传统营业与服务手段的延伸,更将针对客户的消费心理、价值取向与消费行为,引入客户关系管理的联机分析和挖掘功能,为客户提供多层次、个性化和多样化的服务以发展客户。
在系统建设过程中遵循的原则:
- 技术、产品标准化原则
- 技术、产品开放性原则
- 系统工程理论的原则
- 系统稳定性、安全性原则
- 系统及功能可扩展性原则
- 工程项目统筹安排、分步建设的原则
三. 系统网络结构简介
系统的网络结构图如下所示:

系统网络结构图
3.1系统简介
3.1.1系统硬件平台
- PBX/ACD
作为整个综合业务系统接入的前置交换/排队设备,与PSTN交换网络相连,配备坐席模块来完成坐席功能。系统设计为开放式,可与多种PBX平台配合。
- 系统硬件平台
计算机平台采用高性能PC服务器,数字语音处理采用美国开放 导者NMS Communication的产品。提供与PSTN或PBX的接入方式,支持多种信令,可根据要求扩充系统规模。
- 传真服务器
计算机采用高性能PC服务器,传真处理平台采用NMS Communication的产品。
- 实时监控系统
桌面PC,收集前置交换设备的状态信息报告,以图形化界面实时提供各种报告,包括中继占用情况等。
- CTI服务器
通过CTI链路,可以参与前置交换/排队设备的呼叫接续控制过程,从而可以利用计算机实现呼叫呼叫的接续、保持、转接、会议等控制功能。
- 应用代理服务器
作为查询系统和其他业务系统进行集成的数据网关。
- 录音服务器
录音系统可在坐席控制下对任意话路进行录音。
- WEB/MAIL服务器
提供WWW浏览、自助服务及电子邮件的收发功能。
- 采编系统
- 系统维护管理台
3.1.2系统功能
- 系统基本功能
自动话务分配
自动语音应答
自动语音识别
声文转换功能
坐席监听功能
全程录音功能
自动传真回复
系统监控管理
- 机场业务功能
航班信息查询
酒店预订服务
机票查询预订
人工坐席服务
话务统计功能
系统具有良好的开放性,能方便调用机场已有业务系统的数据,(货运管理系统、行李查询系统、航务系统等)并提供相应的接口,以便实现与新系统的集成。
- 扩展业务功能
系统方案充分考虑了以后机场查询系统与其他业务系统的全面集成,全面实现综合业务的查询、咨询、受理、调度等各项功能。
3.1.3系统特点
四.机场综合业务系统
本系统采用E1数字中继线接入电话网,成为能够在声讯台或机场独立运行的系统。
用户查询操作方法包括按键查询、语音查询,其中按键查询主要为了适应老客户,但系统主体是语音查询,具体来说包括以下一些功能:
- 交互问答式查询。用户只须按系统的提示作出相应的回答,便可得到自己所需的信息
- 系统对外提供航班、票务、等信息查询。
- 可统计系统每天的话务量。
- 数据转换。由言丰科技提供专门的数据转换软件,将通过转报机取得的信息实时转换到数据库中去。
- 数据库管理,用于存储航班信息、票务信息,并利于二次开发。
- 语法文件生成、维护功能。能够从数据库中自动提取资料编译生成语法文件,并可提供语法文件维护,主要是为配合语音查询的需要。
4.1业务流程设计
4.1.1 系统查询业务
该系统主要采用语音技术实现航班信息查询,系统的主业务流程如图一至五示。

图1:航班查询系统
票务查询系统如下图示。

旅游查询业务入下图示。

图3:旅游信息查询
民航常识查询如下图示。

图4:民航知识查询
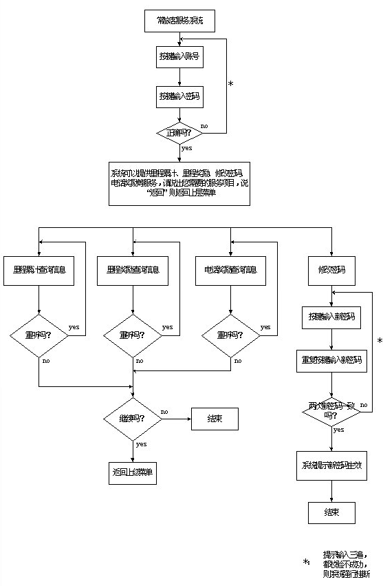
常旅客服务如下图示。

图5:常旅客信息查询
4.1.2系统硬件结构
在硬件上系统由语音服务器、CTI服务器(含语音卡、TTS服务器、数据库服务器、维护工作站以及相应的连接设备组成。
CTI服务器由一台高性能的PC服务器担当,机器配置有语音卡、坐席卡,主要负责处理用户的呼叫,通过线路与公话网相连,处理计算机与公共电话网的语音和信令的交换。接听用户电话、播放查询结果等。
语音服务器由一台或多台高性能的PC服务器担当,语音服务器主要负责识别用户的讲话、返回结果等。由于语音识别,这台服务器的计算量很大。
数据库服务器为装有数据库系统的计算机。负责系统信息的存储、查询等业务。
维护工作站负责系统的维护工作,如语法文件(供语音识别用)的更新等。
连接设备将上述设备连接起来组成一个整体。
4.1.3系统软件结构设计
本系统的软件由日常运营软件和维护软件两部分组成:日常运营软件负责接听用户电话,为用户提供查询服务;维护软件负责相关的维护工作。具体来说包括以下一些软件:
- CTI服务软件。接听用户电话,IVRS及坐席通话处理,
- 语音服务软件。言丰科技的语音服务系统主要提供语音识别服务。
- 语法维护软件。主要用于为语音识别服务。
4.1.4系统软硬件配置
目前系统接入主要采用3条E1的形式。
在此基础上的硬件配置为:
高档服务器(推荐配置)两台:
CPU: 双PIII 1G
内存:1G
硬盘SCSI 18G
网卡等
数据库服务器一台
语音卡:NMS AG4000 2E1 两块
维护工作站一台
软件组成:
系统需要的商用软件包括:Windows NT Workstation若干、数据库软件SQL Server、NMS驱动软件
言丰科技提供的软件有:
言丰语音识别软件
言丰TTS软件
系统维护软件
票务接口软件
软硬件具体配置以报价单配置为主。
4.2技术特点
4.2.1语音识别
言丰科技的语音智能识别系统可适用于各种计算机和平台上,如:Intel Pentium III、 SUN Microsystems UitraSPARC、
Compaq及(Digital)Alpha等不同系列的处理器以及Windows NT4.0, SCO-Unix, Unixware, SUN Solaris和Linux等系统工作平台。本系统采用开放式系统结构,业务功能采用模块化设计,规模可大可小,各项指标依照国际标准,系统性能稳定可靠,反应迅速,可平滑升级。
一个引擎支持三种语言
目前,一个e-t@lk的3.0版本引擎可同时支持英文、普通话、广东话三种语言的识别、语音合成的功能,而不需要三个引擎。
混合语言识别
e-t@lk识别引擎支持普通话、广东话及英语的混合语言识别。
连续语音
在讲话的时候不需要刻意地逐字讲话,而是可以连续地说话。
自然语言
用户可以用自然的方式讲话,而不是象录音对比系统那样必须按照录音时的讲话方式来讲。
与说话人无关(independent)
e-t@lk识别引擎在进行语音识别时,不受限定说话人的限制,所以说话人在使用前不需要进行语音训练和适应准备。
大的词汇量
e-t@lk识别引擎支持中文汉字和英文。
对噪音和口音的适应能力强
e-t@lk识别引擎能够适应较为恶劣的噪音环境,对于不同口音也有很强的适应能力。
适应多种平台
e-t@lk识别引擎是一种基于主机的语音识别引擎,能够适应多种工业化的系统平台。
灵活性和可扩展性
e-t@lk识别引擎提供标准C接口和多种灵活方便的使用方式可以采取多种方式构建系统,以及和现有系统整合。
支持多种电话网络类型
e-t@lk识别引擎对固网、移动网、IP网进行了数据采集和模型训练,可以适应多种网络的需求。
客户机?服务器结构、非客户机?服务器结构
针对用户不同规模的应用要求,e-t@lk识别引擎在统一的接口上提供了一致的编程接口。
4.2.2系统的开放性
言丰科技的语音处理引擎,支持目前绝大多数流行的硬件和操作系统,例如Unix、Windows、Solaris、UinxWare等的操作系统,以及各种主流的智能交换机(排队机)例如AVAYA(朗讯科技)、北电、思科、西门子、上海贝尔、阿尔卡特、华为等,另外也对语音板卡厂商的产品进行全面的支持,例如Dialogic、NMS、鼎铭、InterVoice等
4.2.3应用系统的二次开发
提供简单、一定的二次开发工具,用户可以根据业务要求,进行系统应用、业务流程进行修改,提供的工具有GDL、VoiceXML以及较低层次的API开发工具包。
4.2.4系统工作环境需求
1.系统工作环境
- 工作温度 0℃—50℃
- 储存温度 -30℃—70℃
- 湿度 8%—80%
2.工作电源环境
交流220
五.结束语
语言,一直是并且仍将是人们进行信息交流的最自然、最直接和最主要的方式。人们想用语音和计算机进行交流,让计算机能听懂人话,这就是人们研究计算机自动语音识别的动机。计算机智能语音识别意义十分重大,它使人们可以方便地通过语音完成各种操作。目前,世界上一些服务行业的大公司,如银行、股票公司、旅游服务公司、航空公司等纷纷投资、合作开发或购买具有语音功能的服务系统,以此来代替人工,从而降低成本。电话语音智能识别系统利用现有发达的电话网,使用户能够以最简单、最方便、最满意的方式获取信息。以说话方式来操控计算机网络系统将彻底改变人们几十年形成的按键操作的传统概念和习惯,使人重归自然,轻松自由。
航天华迪公司供稿 CTI论坛编辑
相关链接: