东进技术电信1000号客户服务中心解决方案
2002/03/06
一、方案背景
目前,客户服务中心在21世纪成为越来越重要的服务形式,各类企业均可通过客户服务中心为客户提供更快速、更有效、更亲切的个性化服务。
在电信行业,随着固定电话用户的增多和电信事业的发展,用户对电信企业服务内容和方式的要求也日益提高,针对用户的需求,电信企业大多已经建立了特号服务业务:
180:用户电话投诉
170:资费帐单查询
189:电话业务受理
112:故障电话申告
114:电话号码查询…..
但随着业务的迅猛发展,这些服务系统的规模小、服务少,联系手段单一,已经不能满足用户的需求,而且每个系统各成体系,集成度差、信息不能共享,人员和设备冗余,造成资源浪费。
如何解决这些问题,并增加新业务提高利润、降低运营成本节约资源、提供更好服务增加用户满意度、运用新技术提高竞争力、可靠有效最大限度地集成现有系统?电信1000号客户服务中心应运而生。它具有电信费用综合查询、电信业务综合咨询、电信业务受理、电话障碍受理和投诉受理的综合服务功能,覆盖114、112、189、170、180等特服号服务业务,用户拨打一个号码就可以得到所有业务的受理。而且它能为用户提供多种服务形式如:人工、语音、传真、信函、WEB服务等,还可开展座席出租、业务代办、声讯热线等增值业务。
二、系统结构
电信1000号客户服务中心,集成了计算机网络技术和计算机语音集成技术(CTI)。系统结构可分为三部分:CTI硬件平台、LAN网络平台、客户服务软件系统。东进公司推出了基于板卡的CTI硬件方案,以七号信令网关进行协议转换。此硬件平台具有以下优点:
1、采用七号信令,话路和信令分开传送,支持更多新业务,接续速度快,系统稳定。
2、有效利用原有资源,七号信令网关可连接由不同厂家生产的语音板卡构建的114、112、189、170、180系统硬件平台。
3、采用双机双链路的工作方式,具有冗余备份的容错功能。
4、CT-BUS 总线标准、PCI接口的使用,使系统更加稳定、快速,符合国际标准,便于升级更新。
5、过机卡的使用, 提高系统容量,便于构造大型系统。
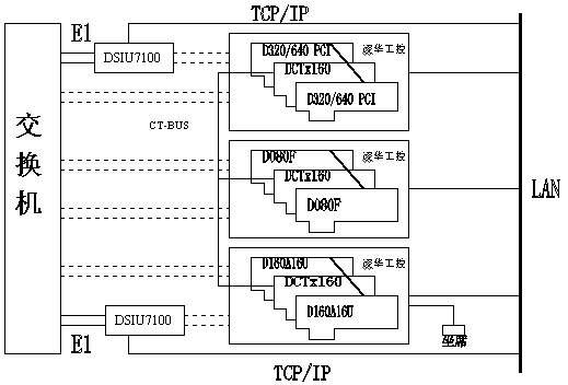
系统结构如下图:

CTI硬件平台组成:
如图:

1.凌华工控机(PCI插槽)
2.东进七号信令网关DSIU7100:实现七号信令系统信令接续功能
D320/640 PCI一号信令语音板卡:单卡实现30/60路数字中继通道语音处理能力
过机卡DCTx 160:实现机间无缝互联功能
传真卡D080F:单卡实现1-8路自动传真功能
坐席卡D160A16U:单卡实现1-16线人工坐席、坐席互转功能
技术指标:
1.操作系统:WINNT4.0 、WIN2000/98
2.软件接口:Visual Basic 、C (Visual C++, Borland C++ ……) 、Delphi 、Visual Foxpro 、Powerbuilder 、其它支持动态连接库(DLL)的开发平台
3.兼容交换机类型:所有厂家的交换机
4.交换机接口方式:E1数字接口(PCM,2.048MBPS、中国七号信令、 2.5C-2V-75W同轴电缆或120W双绞线)
5.此平台卡间采用CT-BUS协议(H.100 标准)连接,机间配合东进过机卡DCTx 160互连,两台七号信令网关DSIU7100 构成双机双链路结构。
三、系统功能
基于东进七号信令网关的硬件平台,1000号客务中心在实现原有业务整合的基础上,开发了更多电信拨号服务,客户只要拨打1000号电话,便可进行电话号码和电话话费查询、安装和移装电话、电话交费、电话障碍修复、电信业务咨询、电信服务投诉、提出意见和建议等,改变了过去客户必须到电信营业厅办理的状况。同时,该系统还可电话调查、智能证券、送水预订、预订机票、搬家业务等社会服务的电话转接业务,其功能描述如下:
1.综合查询
综合查询的主要包含以下内容:
1.114号码查询系统;
2.业务办理情况查询;
3.用户申告处理情况查询;
4.话费和缴费情况查询:人工、语音、E_MAIL、传真结合服务。
2.综合咨询
电信行政法规;
电信行业管理;
地方性法规;
邮电业务宣传及咨询;
电信市场咨询功能;
电信业务市场推广;
特殊需求咨询;
市话业务咨询
长途业务咨询
数据业务咨询
新业务咨询
其它
3.电信业务受理
电信业务受理主要负责市话业务、数据业务等电信业务的受理。主要采用人工受理的方式,支持的实现方式还有语音、传真、信函、WEB浏览方式等。
它主要涵盖原189系统的业务,该部分主要包括:
(1)市话业务受理
电话装机申请记录业务
用户移机申请记录业务
用户拆机申请记录业务功能
程控新功能申请记录业务功能,包括主叫显示、定时呼叫、呼叫转移等。
长途业务功能
(3)数据业务受理
中国公用数字数据网China DDN
中国公用分组交换数据网China PAC
可视图文Video Tex
传真存储转发F&S
电子信箱E-Mail
国际互联网Internet
(4)新业务
综合业务数字网ISDN
电子数据互换EDI200、300、800业务
四、基于原系统的升级方案
电信企业已有的112、114、170、189、180等系统,这些系统的硬件设备各成体系,很可能由不同厂家的板卡组成:DIALOGIC、东进、NMS,或其他品牌;还可能采用不同的信令方式:NO.1 信令、NO.7信令、 ISDN信令。如何把五花八门的系统集成起来,以有效利用、降低成本?东进七号网关DSIU7100提供解决此问题的最好解决方案,系统可兼容不同厂家生产的不同数字中继接口的语音板卡,最大限度的利用原有资源,结构如下图所示:
详情请垂询东进技术公司
0755-3636988
010-62326253,62326252,62326250,
021-62103402,62103403
028-5255741,5257408
| 东进技术总裁贺建楠谈3G应用落地:进展超出预期 2009-09-25 |
| 东进技术喜获“2009年度优秀通信企业” 2009-09-23 |
| 东进技术推出新一代数字交叉链接设备 2009-09-15 |
| 东进技术助力江苏昆山城管实现数字化 2009-09-02 |
| 当呼叫中心遇到ERP 东进技术助力河北百度 2009-08-26 |